Описание
Характеристики
Отзывы
Описание
Если вы хотите заказать изделие из нержавеющей стали, замените первые две цифры артикула с 80.... на 81....
Характеристики
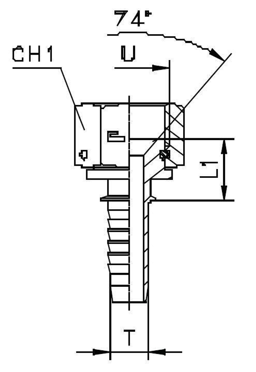
| Артикул | Бренд | DASH | DN | ID (дюйм) | L1 | U | WP (bar) | Вид | Вид резьбы | Стандарт фитинга/муфты | Тип фитинга | Угол фитинга |
| 801806 | CAST | -5 | 8 | 5/16 | 17 | 9/16-18 | 350 | X | Внутренняя | Стандартный | JIC | прямой |
Характеристики
Бренд
CAST
WP (bar) рабочее давление
350
Вид резьбы фитинга для РВД
Внутренняя
Стандарт фитинга/муфты для РВД
Стандартный
Тип фитинга для РВД
JIC
Угол фитинга для РВД
прямой
Вид
X
ID (дюйм)
5/16
Размер U фитинги Каст
9/16-18
DN (услов внут диам рукава, фитингов)
8
DASH размер продукции (рукава, фитинги, TC)
-5
Размер L1 фитинги Каст
17
Отзывы
Отзывов еще никто не оставлял
