Описание
Характеристики
Отзывы
Описание
Если вы хотите заказать изделие из нержавеющей стали, замените первые две цифры артикула с 80.... на 81....
Характеристики
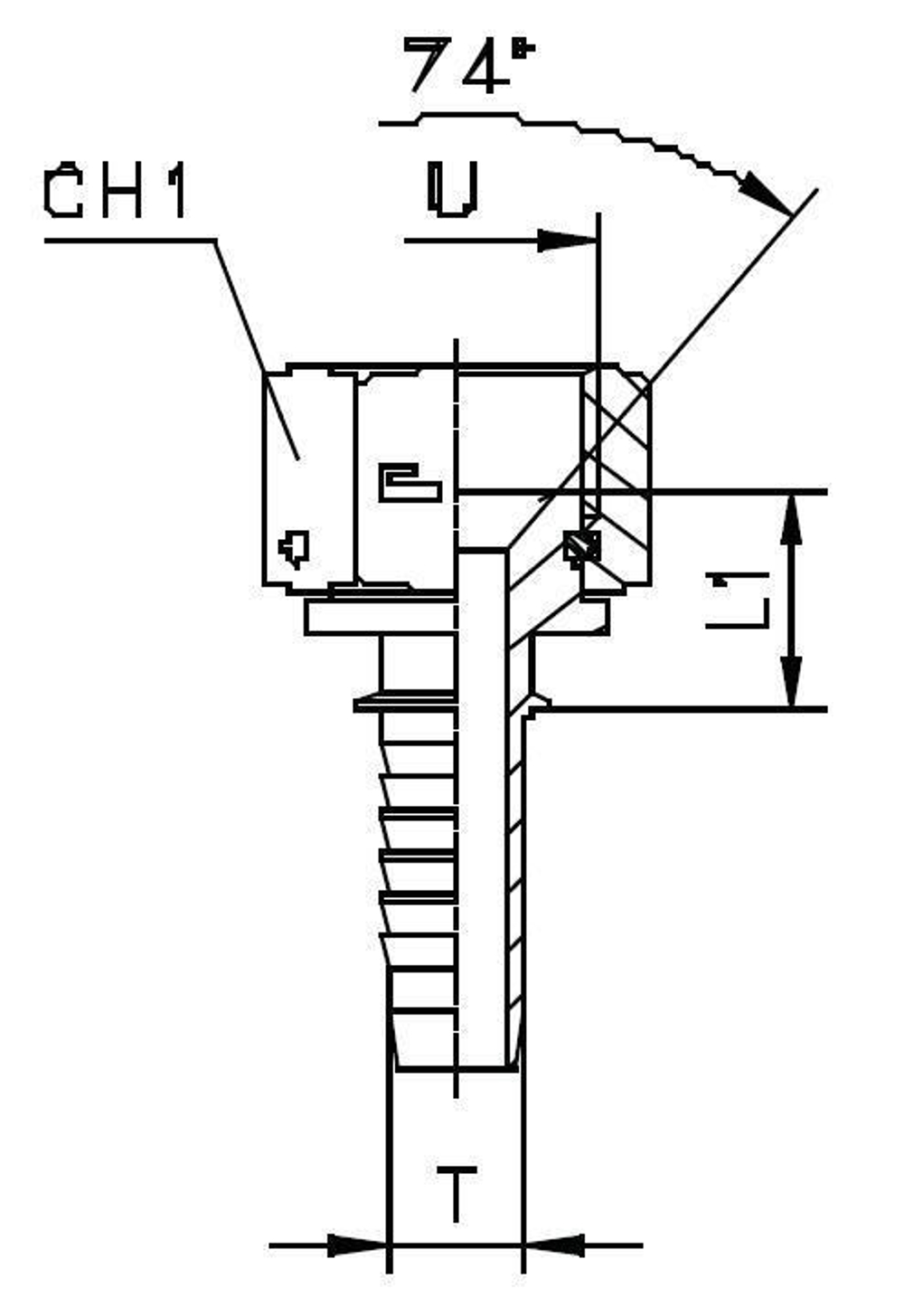
| Артикул | Бренд | DASH | DN | ID (дюйм) | L1 | U | WP (bar) | Вид | Вид резьбы | Стандарт фитинга/муфты | Тип фитинга | Угол фитинга |
| 801861 | CAST | -8 | 12 | 1/2 | 20 | 7/8-14 | 350 | Y | Внутренняя | Стандартный | JIC | прямой |
Характеристики
Бренд
CAST
WP (bar) рабочее давление
350
Вид резьбы фитинга для РВД
Внутренняя
Стандарт фитинга/муфты для РВД
Стандартный
Тип фитинга для РВД
JIC
Угол фитинга для РВД
прямой
Вид
Y
ID (дюйм)
1/2
Размер U фитинги Каст
7/8-14
DN (услов внут диам рукава, фитингов)
12
DASH размер продукции (рукава, фитинги, TC)
-8
Размер L1 фитинги Каст
20
Отзывы
Отзывов еще никто не оставлял
