Описание
Характеристики
Отзывы
Описание
Если вы хотите заказать изделие из нержавеющей стали, замените первые две цифры артикула с 80.... на 81....
Характеристики
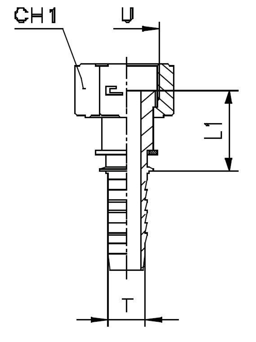
| Артикул | Бренд | DASH | DN | ID (дюйм) | L1 | M | U | W | WP (bar) | Вид | Вид резьбы | Стандарт фитинга/муфты | Тип фитинга | Угол фитинга |
| 804307 | CAST | -8 | 12 | 1/2 | 30,5 | 14-15-16 | 1-14 | 5/8 | 415 | X | Внутренняя | Стандартный | ORFS | прямой |
Характеристики
Бренд
CAST
WP (bar) рабочее давление
415
Вид резьбы фитинга для РВД
Внутренняя
Стандарт фитинга/муфты для РВД
Стандартный
Тип фитинга для РВД
ORFS
Угол фитинга для РВД
прямой
Вид
X
ID (дюйм)
1/2
Размер U фитинги Каст
1-14
DN (услов внут диам рукава, фитингов)
12
DASH размер продукции (рукава, фитинги, TC)
-8
Размер L1 фитинги Каст
30,5
Размер соедин. W фитинги Каст
5/8
Размер соедин. M1 фитинги Каст
14-15-16
Отзывы
Отзывов еще никто не оставлял
