Описание
Характеристики
Отзывы
Описание
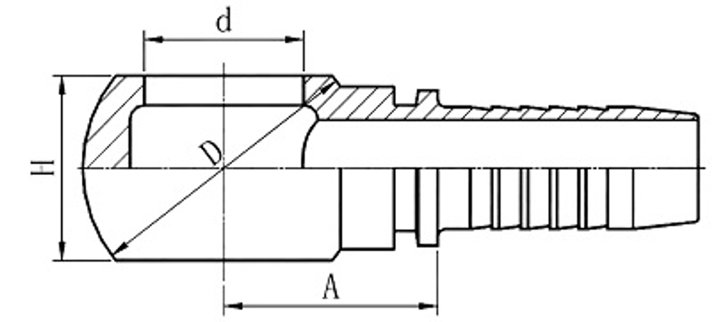
Фитинг DN 20 BANJO 3/4
Характеристики
Бренд
POWERMASTER
Отзывы
Отзывов еще никто не оставлял
